Product Summary
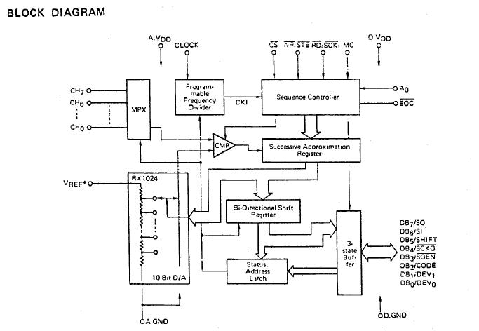
The D7004C is a 10-bit monolithic CMOS analog-to-digital converter using the Successive Approximation Register (SAR) technique. The D7004C incorporates an 8-channel multiplexed analog input and full microprocessor interface to achieve a high degree of versatility. The designer has a choice of either serial or parallel output and interface to 8080 type microprocessors or advanced signal processor like the μPD7720.
Parametrics
D7004C absolute maximum ratings: (1)supply voltage, VDD: -0.3 to 7.0V; (2)input voltage, VI: -0.3 to VDD+0.3V; (3)reference voltage, VREF: -0.3 to VDD+0.3V; (4)operating temperature, Topt: -40 to 85℃; (5)storage temperature, Tstg: -85 to 125℃.
Features
D7004C features: (1)8-channel multiplexed analog input; (2)serial or parallel interface; (3)10-bit resolution; (4)linearity: 1 LSB max (Ta=25℃); (5)conversion time: 10μs (fCLK=1MHz); (6)input voltage range 0 to VREF; (7)temperature range from -40 to +85℃; (8)operates from single +5Volt supply (5V±10%).
Diagrams

(Hong Kong)






