Product Summary
The P51XAG30JBA 16-bit single-chip microcontroller is powerful enough to easily handle the requirements of high performance embedded applications, yet inexpensive enough to compete in the market for high-volume, low-cost applications. The P51XAG30JBA provides an upward compatibility path for 80C51 users who need higher performance and 64k or more of program memory. Existing 80C51 code can also easily be translated to run on the P51XAG30JBA.
Parametrics
P51XAG30JBA absolute maximum ratings: (1)Operating temperature under bias: –55 to +125 ℃; (2)Storage temperature range: –65 to +150 ℃; (3)Voltage on EA/VPP pin to VSS: 0 to +13.0 V; (4)Voltage on any other pin to VSS: –0.5 to VDD+0.5 V; (5)Maximum IOL per I/O pin: 15 mA; (6)Power dissipation (based on package heat transfer limitations, not device power consumption): 1.5 W.
Features
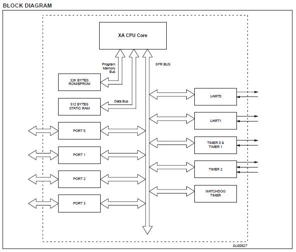
P51XAG30JBA features: (1)20-bit address range, 1 megabyte each program and data space; (2)2.7V to 5.5V operation; (3)32K bytes on-chip EPROM/ROM program memory = XA-G37/XA-G33; (4)512 bytes of on-chip data RAM; (5)Three counter/timers with enhanced features (equivalent to 80C51 T0, T1, and T2); (6)Watchdog timer; (7)Two enhanced UARTs; (8)Four 8-bit I/O ports with 4 programmable output configurations; (9)44-pin PLCC and 44-pin LQFP packages.
Diagrams

(Hong Kong)






